CALIBRAGE
REGLER LE SYSTEME DE MONITEUR DE VISION PANORAMIQUE
(a) Ce système de moniteur de vision panoramique peut être réglé à partir de l'écran de diagnostic de l'ensemble de récepteur radio et de système d'affichage.
(b) Si les opérations suivantes sont exécutées, il est nécessaire d'effectuer le réglage et la vérification sur l'écran de diagnostic.
|
Dénomination de la pièce |
Fonctionnement | Objet du réglage |
Passer au point |
|---|---|---|---|
|
*1: Au moment de la non utilisation du SST (jeu d'outils de marquage)
*2: Lors de l'utilisation du SST (jeu d'outils de marquage) *3: Avec stationnement avancé *4: Sans stationnement avancé *5: Version du logiciel A12 et suivantes (réglage individuel de la caméra avant/arrière/latérale (droite/gauche) possible) *6: Version du logiciel A10 (réglage individuel de la caméra avant/arrière/latérale (droite/gauche) impossible) | |||
|
ECU d'aide au stationnement |
Remplacement |
Importer/exporter la valeur constante |
Procédure 16
|
| Procédure 1 | |||
|
Procédure 2 | |||
| Procédure 11*1 | |||
|
Procédure 12*2 | |||
|
Procédure 13 | |||
|
Procédure 14 | |||
|
Suspension, pneus, etc. |
La hauteur du véhicule est modifiée suite à un remplacement de la suspension ou des pneus |
Initialisation de l'ECU d'aide au stationnement |
Procédure 1 |
|
Procédure 2 | |||
|
Procédure 11*1 | |||
|
Procédure 12*2 | |||
|
Procédure 13 | |||
|
Procédure 14 | |||
|
Ensemble de caméra de télévision arrière |
| Réglage de la vue de la caméra de télévision arrière*3, *5 |
Procédure 1 |
|
Procédure 2 | |||
|
Procédure 5*1 | |||
|
Procédure 12*2 | |||
|
Procédure 6 | |||
|
Procédure 14 | |||
|
Réglage de la vue de la caméra de télévision arrière*3, *6 |
Procédure 1 | ||
|
Procédure 2 | |||
|
Procédure 11*1 | |||
|
Procédure 12*2 | |||
|
Procédure 13 | |||
|
Procédure 14 | |||
|
Réglage de la vue arrière de la caméra de télévision*4 |
Procédure 1 | ||
|
Procédure 2 | |||
|
Procédure 5*1 | |||
|
Procédure 12*2 | |||
|
Procédure 14 | |||
|
| Réglage de la vue de la caméra de télévision avant*3, *5 |
Procédure 1 |
|
Procédure 2 | |||
|
Procédure 3*1 | |||
|
Procédure 12*2 | |||
|
Procédure 4 | |||
|
Procédure 14 | |||
|
Réglage de la vue de la caméra de télévision avant*3, *6 |
Procédure 1 | ||
|
Procédure 2 | |||
|
Procédure 11*1 | |||
|
Procédure 12*2 | |||
|
Procédure 13 | |||
|
Procédure 14 | |||
|
Réglage de la vue de la caméra de télévision avant*4 |
Procédure 1 | ||
|
Procédure 2 | |||
|
Procédure 3*1 | |||
|
Procédure 12*2 | |||
|
Procédure 14 | |||
|
| Réglage de la vue de la caméra de télévision latérale*3, *5 |
Procédure 1 |
|
Procédure 2 | |||
|
Procédure 7*1 | |||
|
Procédure 12*2 | |||
|
Procédure 8 | |||
|
Procédure 14 | |||
|
Procédure 15 | |||
|
Réglage de la vue de la caméra de télévision latérale*3, *6 |
Procédure 1 | ||
|
Procédure 2 | |||
|
Procédure 11*1 | |||
|
Procédure 12*2 | |||
|
Procédure 13 | |||
|
Procédure 14 | |||
|
Procédure 15 | |||
|
Réglage de la vue de la caméra de télévision latérale*4 |
Procédure 1 | ||
|
Procédure 2 | |||
|
Procédure 7*1 | |||
|
Procédure 12*2 | |||
|
Procédure 14 | |||
|
Procédure 15 | |||
|
| Réglage de la vue de la caméra de télévision latérale*3, *5 |
Procédure 1 |
|
Procédure 2 | |||
|
Procédure 9*1 | |||
|
Procédure 12*2 | |||
|
Procédure 10 | |||
|
Procédure 14 | |||
|
Procédure 15 | |||
|
Réglage de la vue de la caméra de télévision latérale*3, *6 |
Procédure 1 | ||
|
Procédure 2 | |||
|
Procédure 11*1 | |||
|
Procédure 12*2 | |||
|
Procédure 13 | |||
|
Procédure 14 | |||
|
Procédure 15 | |||
|
Réglage de la vue de la caméra de télévision latérale*4 |
Procédure 1 | ||
|
Procédure 2 | |||
|
Procédure 9*1 | |||
|
Procédure 12*2 | |||
|
Procédure 14 | |||
|
Procédure 15 | |||
| Remplacement ou dépose et repose de 2 pièces ou plus |
Réglage de vision de caméra de télévision |
Procédure 1 |
|
Procédure 2 | |||
|
Procédure 11*1 | |||
|
Procédure 12*2 | |||
|
Procédure 13*3 | |||
|
Procédure 14 | |||
|
Procédure 15 | |||
PROCEDURE 1: VERIFICATIONS PREALABLES AU TRAVAIL
(a) Avec stationnement avancé:
Confirmer la version du logiciel conformément à la procédure suivante.
(1) Passer en mode de diagnostic.
Cliquer ici
ATTENTION:
La vérification doit être effectuée avec le contacteur d'allumage en position ON. Par conséquent, engager le frein de stationnement, enfoncer la pédale de frein et engager le rapport P pour empêcher que le véhicule ne bouge de façon inattendue.
(2) Sélectionner "Function Check/Setting" sur l'écran "Service Menu".
(3) Sélectionner "Camera Setting" sur l'écran "Function Check/Setting I".
REMARQUE:
Si l'écran de sélection "Camera Setting" ne s'affiche pas, mettre le contacteur d'allumage en position OFF et passer à l'écran de diagnostic après avoir mis à nouveau le contacteur d'allumage en position ON.
(4) Confirmer la version du logiciel.
|
*a | Version du logiciel |
CONSEIL:
Selon la version du logiciel, la procédure diffère. Effectuer les réglages pour chaque zone où le travail doit être effectué.
|
Version du logiciel | Procédure requise |
|---|---|
|
Version logicielle A12 et suivantes |
|
| Version logicielle A10 |
|
(b) Vérifications préalables
REMARQUE:
(1) Avec stationnement avancé:
Effectuer ce travail dans un endroit large, de niveau (direction L d'environ 6,5 m x sens W d'environ 3,5 m).
(2) Sans stationnement avancé:
Effectuer ce travail à un emplacement large et plan.
(3) Garer le véhicule sur une surface plane avec le volant centré.
REMARQUE:
Avant de l'arrêter, faire rouler le véhicule en avant et en arrière pour s'assurer que le volant et les pneus soient orientés vers l'avant.
(4) Régler la pression des pneus à la (aux) valeur(s) prescrite(s).
(5) Enlever tous les bagages du véhicule et placer les repères avant de commencer le travail.
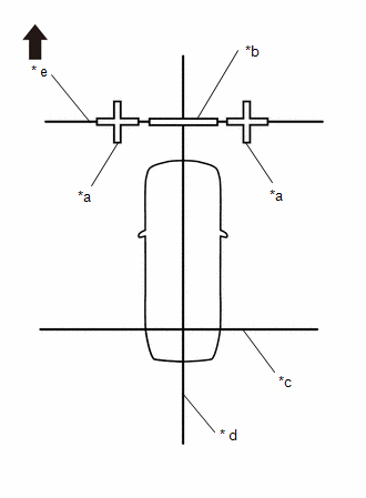
(c) Emplacements des marqueurs (marqueur de vérification)
CONSEIL:
Avec stationnement avancé:
Selon la version du logiciel, la procédure diffère. Effectuer les réglages pour chaque zone où le travail doit être effectué.
|
Version du logiciel | Procédure requise |
|---|---|
|
Version logicielle A12 et suivantes |
|
| Version logicielle A10 |
|
(1) Fixer la ficelle à l'emplacement requis pour réaliser les vérifications et régler les repères comme indiqué sur le schéma.
|
*a |
Marqueur de vérification transversal |
|
*b |
Vérifier les marqueurs |
|
*c |
Ficelle 1 |
|
* d |
Ficelle 2 |
|
* e |
Ficelle 3 |
|
Avant du véhicule |
|
*a |
Marqueur de vérification transversal |
|
*b |
Vérifier les marqueurs |
|
*c |
Ficelle 1 |
|
* d |
Ficelle 2 |
|
* e |
Ficelle 4 |
|
Avant du véhicule |
|
*a |
Marqueur de vérification transversal |
|
*b |
Vérifier les marqueurs |
|
*c |
Ficelle 1 |
|
* d |
Ficelle 2 |
|
* e |
Ficelle 3 |
|
* f |
Ficelle 4 |
|
*g |
Ficelle 5 |
|
Avant du véhicule |
|
*a |
Marqueur de vérification transversal |
|
*b |
Vérifier les marqueurs |
|
*c |
Ficelle 1 |
|
* d |
Ficelle 2 |
|
* e |
Ficelle 3 |
|
* f |
Ficelle 4 |
|
*g |
Ficelle 6 |
|
Avant du véhicule |
|
*a |
Marqueur de vérification transversal |
*b |
Vérifier les marqueurs |
|
*c |
Ficelle 1 |
* d |
Ficelle 2 |
|
* e |
Ficelle 3 |
* f |
Ficelle 4 |
|
*g |
Ficelle 5 |
*h |
Ficelle 6 |
|
Avant du véhicule |
- |
- |
(d) Positions des marqueurs
(1) Placer les marqueurs de vérification aux positions indiquées sur le schéma.
|
*a | 4500 mm (14,76 pi) |
*b | 900 mm (2,95 pi) |
|
*c | 1200 mm (3,94 pi) |
* d | 693 mm (2,27 pi) |
|
* e | 1400 mm (4,59 ft.) |
* f | 1600 mm (5,25 ft.) |
|
*g | 3200 mm (10,50 pi) |
*h | 3400 mm (11,15 pi) |
|
Avant du véhicule | - |
- |
(e) Avec stationnement avancé:
Emplacements des marqueurs (SST)
SST: 09870-52010
SST: 09870-52020
CONSEIL:
Selon la version du logiciel, la procédure diffère. Effectuer les réglages pour chaque zone où le travail doit être effectué.
|
Version du logiciel | Procédure requise |
|---|---|
|
Version logicielle A12 et suivantes |
|
| Version logicielle A10 |
|
(1) Fixer les cordes à l'emplacement requis pour effectuer les vérifications et régler le SST comme indiqué sur le schéma.
|
*a |
SST (sauf réglage latéral) |
|
*b |
Ficelle 1 |
|
*c |
Ficelle 2 |
|
* d |
Ficelle 3 |
|
Avant du véhicule |
REMARQUE:
Placer le SST (cible de réglage de caméra de télévision) avec sa surface de marquage orientée vers le véhicule.
|
*a |
SST (sauf réglage latéral) |
|
*b |
Ficelle 1 |
|
*c |
Ficelle 2 |
|
* d |
Ficelle 4 |
|
Avant du véhicule |
REMARQUE:
Placer le SST (cible de réglage de caméra de télévision) avec sa surface de marquage orientée vers le véhicule.
|
*a |
SST (sauf réglage latéral) |
|
*b |
SST (réglage latéral) |
|
*c |
Ficelle 1 |
|
* d |
Ficelle 2 |
|
* e |
Ficelle 3 |
|
* f |
Ficelle 4 |
|
*g |
Ficelle 5 |
|
Avant du véhicule |
REMARQUE:
|
*a |
SST (sauf réglage latéral) |
|
*b |
SST (réglage latéral) |
|
*c |
Ficelle 1 |
|
* d |
Ficelle 2 |
|
* e |
Ficelle 3 |
|
* f |
Ficelle 4 |
|
*g |
Ficelle 6 |
|
Avant du véhicule |
REMARQUE:
REMARQUE:
|
*a |
SST (sauf réglage latéral) |
*b |
SST (réglage latéral) |
|
*c |
Ficelle 1 |
* d |
Ficelle 2 |
|
* e |
Ficelle 3 |
* f |
Ficelle 4 |
|
*g |
Ficelle 5 |
*h |
Ficelle 6 |
|
Avant du véhicule |
- |
- |
(f) Avec stationnement avancé:
Positions des marqueurs
SST: 09870-52010
SST: 09870-52020
(1) Placer le SST aux endroits indiqués sur le schéma.
REMARQUE:
|
*a | 5750 mm (18,86 pi) |
*b | 4550 mm (14,92 pi) |
|
*c | 3000 mm (9,84 pi) |
* d | 2150 mm (7,05 pi) |
|
* e | 950 mm (3,12 pi) |
* f | 1250 mm (4,1 pi) |
|
*g | 1450 mm (4,76 pi) |
- | - |
|
Avant du véhicule | - |
- |
PROCEDURE 2 : FIXER DES POINTS DE REFERENCE
(a) Prolonger la ligne de référence (ficelle 1).
(1) Suspendre un poids avec une extrémité effilée et marquer précisément le centre de la surface de la route. (Repère A)
REMARQUE:
S'assurer que le poids pend tout droit au bout de la ficelle.
|
*a | Repère A |
|
*b | Poids |
(2) Procéder de la même manière pour le repère du côté droit. (Repère B)
(3) Fixer la ficelle 1 de manière à ce qu'elle passe par les repères A et B sur les côtés gauche et droit.
|
*a | Ficelle 1 |
|
*b | Repère A |
|
*c | Repère B |
|
Avant du véhicule |
REMARQUE:
(b) Prolonger la ligne centrale du véhicule (ficelle 2).
(1) Suspendre un poids avec une extrémité effilée de manière à ce qu'elle passe par le centre de l'emblème avant et marquer précisément le centre sur la surface de la route. (Repère C)
|
*a | Centre | *b |
Poids |
| *c | Corde |
* d | Repère C |
|
* e | Symétrie bilatérale |
- | - |
(2) Suspendre un poids avec une pointe effilée au centre de l'emblème arrière et marquer précisément le point central arrière du véhicule sur le sol.
|
*a | Centre | *b |
Poids |
| *c | Corde |
* d | Marque D |
|
* e | Symétrie bilatérale |
- | - |
(3) Fixer la ficelle 2 de manière à ce qu'elle passe par les repères C et D à l'avant et à l'arrière du véhicule.
REMARQUE:
Lors de la fixation de la corde, s'assurer qu'il n'y ait pas de mou et que la corde ne tourne pas.
CONSEIL:
Marquer le point de contact entre les ficelles 1 et 2 comme le point de référence.
|
*a | Point de référence |
|
*b | Ficelle 1 |
|
*c | Ficelle 2 |
|
* d | Repère C |
|
* e | Repère D |
|
Avant du véhicule |
PROCEDURE 3: MISE EN PLACE DES MARQUEURS (REGLAGE AVANT)
(a) A l'avant du véhicule, tendre la corde (3) perpendiculairement à la ligne centrale du véhicule (corde 2) et placer un marqueur.
(1) Marquer la position sur la corde 2 à l'avant du véhicule, 4500 mm (14,76 pi) à partir du point de référence. (Repère E)
|
*a | 4500 mm (14,76 pi) |
|
*b | Point de référence |
|
*c | Ficelle 1 |
|
* d | Ficelle 2 |
|
* e | Repère E |
|
Avant du véhicule |
(2) Fixer les extrémités de 2 cordes (longue de 800 mm [2,62 pi]) en deux emplacements 400 mm (1,31 pi) du repère E comme indiqué sur le schéma.
|
*a | 400 mm (1,31 pi) |
|
*b | Ficelle 2 |
|
*c | Repère E |
|
Avant du véhicule |
(3) Déplacer les extrémités libres des 2 ficelles et marquer le point de rencontre des extrémités. (Repères F et G)
|
*a | Ficelle 800 mm (2,62 pi) |
*b | Ficelle 2 |
|
*c | Repère E | * d |
Repère F |
| * e |
Repère G | - |
- |
|
Avant du véhicule | - |
- |
(4) Fixer la corde (3) de manière à ce qu'elle passe par les repères F et G comme indiqué sur le schéma.
REMARQUE:
Lors de la fixation de la ficelle, s'assurer qu'il n'y ait pas de mou et que la ficelle ne tourne pas.
|
*a | 1200 mm (3,94 pi) |
|
*b | Ficelle 2 |
|
*c | Ficelle 3 |
|
* d | Repère F |
|
* e | Repère G |
|
* f | Repère H |
|
*g | Repère I |
|
Avant du véhicule |
(5) Marquer les positions sur la corde (3), 1200 mm (3,94 pi) à gauche et à droite de la ligne centrale du véhicule (corde 2). (Repères H et I).
(6) Placer et fixer les marqueurs transversaux, centrés sur les repères H et I.
REMARQUE:
|
*a | 800 mm (2,62 pi) |
|
*b | 100 mm (0,33 pi) |
|
*c | Marqueur de vérification transversale |
|
* d | Vérifier les marqueurs |
|
* e | Ficelle 1 |
|
* f | Repère F |
|
*g | Repère G |
|
*h | Repère H |
|
*i | Repère I |
|
Avant du véhicule |
(7) Placer le marqueur de vérification entre les repères F et G.
(8) Avec stationnement avancé:
Effectuer le réglage du SST (réglage avant) (procédure 4).
(9) Sans stationnement avancé:
Effectuer la procédure de réglage de l'écran (procédure 14).
PROCEDURE 4: PLACER LE SST (REGLAGE AVANT)
(a) A l'avant du véhicule, tendre la corde (3) perpendiculairement à la ligne centrale du véhicule (corde (2)), et placer le SST.
SST: 09870-52010
SST: 09870-52020
(1) Marquer la position sur la corde (2) à l'avant du véhicule, 4550 mm (14,92 pi) à partir du point de référence. (Repère E)
|
*a | 4550 mm (14,92 pi) |
|
*b | 5750 mm (18,86 pi) |
|
*c | Point de référence |
|
* d | Ficelle 1 |
|
* e | Ficelle 2 |
|
* f | Repère E |
|
*g | Repère W |
|
Avant du véhicule |
(2) Marquer la position sur la corde (2) à l'avant du véhicule, 5750 mm (18,86 pi) à partir du point de référence. (Repère W)
(3) Fixer les extrémités de 2 cordes (longue de 800 mm [2,62 pi]) en deux emplacements 400 mm (1,31 pi) du repère E comme indiqué sur le schéma.
|
*a | 400 mm (1,31 pi) |
|
*b | Ficelle 2 |
|
*c | Repère E |
|
Avant du véhicule |
(4) Déplacer les extrémités libres des 2 ficelles et marquer le point de rencontre des extrémités. (Repères F et G)
|
*a | Ficelle 800 mm (2,62 pi) |
*b | Ficelle 2 |
|
*c | Repère E | * d |
Repère F |
| * e |
Repère G | - |
- |
|
Avant du véhicule | - |
- |
(5) Fixer la corde (3) de manière à ce qu'elle passe par les repères F et G comme indiqué sur le schéma.
REMARQUE:
Lors de la fixation de la ficelle, s'assurer qu'il n'y ait pas de mou et que la ficelle ne tourne pas.
|
*a | 1450 mm (4,76 pi) |
|
*b | Ficelle 2 |
|
*c | Ficelle 3 |
|
* d | Repère F |
|
* e | Repère G |
|
* f | Repère AA |
|
*g | Repère AB |
|
Avant du véhicule |
(6) Marquer les positions sur la corde (3), 1450 mm (4,76 pi) à gauche et à droite de la ligne centrale du véhicule (corde (2)). (Marques AA et AB).
(7) Lorsque la ligne centrale du SST (cible de réglage de caméra de télévision) est alignée sur le repère W, placer la corde (2) de manière à ce qu'elle recouvre la ligne centrale du SST (support de type L) comme indiqué sur le schéma.
|
*a | SST (cible de réglage de caméra de télévision) |
|
*b | SST (support de type L) |
|
*c | Ligne centrale de SST (cible de réglage de caméra de télévision) |
|
* d | Ligne centrale du SST (support de type L) |
|
* e | Ficelle 2 |
|
* f | Ficelle 3 |
|
*g | Repère AA |
|
*h | Repère AB |
|
*i | Repère W |
|
Avant du véhicule |
(8) Aligner la ligne centrale du SST (cible de réglage de caméra de télévision) avec les repères AA et AB et la placer parallèlement à la corde (3), comme indiqué sur le schéma.
(9) Effectuer la procédure de réglage de l'écran (procédure 14).
PROCEDURE 5: REGLAGE DES MARQUEURS (REGLAGE ARRIERE)
(a) Vers l'arrière du véhicule, tendre la corde 4 perpendiculairement à la ligne centrale du véhicule (corde 2), et placer un marqueur de vérification.
(1) Marquer une position sur la corde 2 vers l'arrière du véhicule, 900 mm (2,95 pi) à partir du point de référence. (Repère J)
|
*a | 900 mm (2,95 pi) |
|
*b | Point de référence |
|
*c | Ficelle 1 |
|
* d | Ficelle 2 |
|
* e | Repère J |
|
Avant du véhicule |
(2) Fixer les extrémités de 2 cordes (800 mm [2,62 pi]) en deux emplacements 400 mm (1,31 pi) du repère H comme indiqué sur le schéma.
|
*a | 400 mm (1,31 pi) |
|
*b | Ficelle 1 |
|
*c | Ficelle 2 |
|
* d | Repère J |
|
Avant du véhicule |
(3) Déplacer les extrémités libres des 2 ficelles et marquer le point de rencontre des extrémités. (Repères K et L)
|
*a | Ficelle 800 mm (2,62 pi) |
*b | Ficelle 1 |
|
*c | Ficelle 2 | * d |
Repère J |
| * e |
Repère K | * f |
Repère L |
|
Avant du véhicule | - |
- |
(4) Fixer la corde (4) de manière à ce qu'elle passe par les repères K et L comme indiqué sur le schéma.
REMARQUE:
Lors de la fixation de la ficelle, s'assurer qu'il n'y ait pas de mou et que la ficelle ne tourne pas.
|
*a | 1200 mm (3,94 pi) |
|
*b | Ficelle 2 |
|
*c | Ficelle 4 |
|
* d | Marque K |
|
* e | Marque L |
|
* f | Marque M |
|
*g | Repère N |
|
Avant du véhicule |
(5) Marquer les positions sur la corde (4), 1200 mm (3,94 pi) à gauche et à droite de la ligne centrale du véhicule (corde 2). (Repères M et N)
(6) Placer et fixer les marqueurs transversaux, centrés sur les repères M et N.
REMARQUE:
|
*a | 800 mm (2,62 pi) |
|
*b | 100 mm (0,33 pi) |
|
*c | 400 mm (1,31 pi) |
|
* d | Marqueur de vérification transversal |
|
* e | Vérifier les marqueurs |
|
* f | Ficelle 1 |
|
*g | Repère K |
|
*h | Repère L |
|
*i | Repère M |
|
*j | Repère N |
|
Avant du véhicule |
(7) Placer le marqueur transversal entre les points K et L.
(8) Avec stationnement avancé:
Effectuer le réglage du SST (réglage arrière) (procédure 6).
(9) Sans stationnement avancé:
Effectuer la procédure de réglage de l'écran (procédure 14).
PROCEDURE 6: PLACER LE SST (REGLAGE ARRIERE)
(a) Vers l'arrière du véhicule, tendre la corde (4) perpendiculairement à la ligne centrale du véhicule (corde (2)), et placer le SST.
SST: 09870-52010
SST: 09870-52020
(1) Marquer une position sur la corde (2) à l'arrière du véhicule, 950 mm (3,12 pi) à partir du point de référence. (Repère J)
|
*a | 950 mm (3,12 pi) |
|
*b | 2150 mm (7,05 pi) |
|
*c | Point de référence |
|
* d | Ficelle 1 |
|
* e | Ficelle 2 |
|
* f | Repère J |
|
*g | Repère X |
|
Avant du véhicule |
(2) Marquer une position sur la corde (2) à l'arrière du véhicule, 2150 mm (7,05 pi) à partir du point de référence. (Repère X)
(3) Fixer les extrémités de 2 cordes (800 mm [2,62 pi]) en deux emplacements 400 mm (1,31 pi) du repère H comme indiqué sur le schéma.
|
*a | 400 mm (1,31 pi) |
|
*b | Ficelle 1 |
|
*c | Ficelle 2 |
|
* d | Repère J |
|
Avant du véhicule |
(4) Déplacer les extrémités libres des 2 ficelles et marquer le point de rencontre des extrémités. (Repères K et L)
|
*a | Ficelle 800 mm (2,62 pi) |
*b | Ficelle 1 |
|
*c | Ficelle 2 | * d |
Repère J |
| * e |
Repère K | * f |
Repère L |
|
Avant du véhicule | - |
- |
(5) Fixer la corde (4) de manière à ce qu'elle passe par les repères K et L comme indiqué sur le schéma.
|
*a | 1450 mm (4,76 pi) |
|
*b | Ficelle 2 |
|
*c | Ficelle 4 |
|
* d | Marque K |
|
* e | Marque L |
|
* f | Repère AC |
|
*g | Repère AD |
|
Avant du véhicule |
REMARQUE:
Lors de la fixation de la ficelle, s'assurer qu'il n'y ait pas de mou et que la ficelle ne tourne pas.
(6) Marquer les positions sur la corde (4), 1450 mm (4,76 pi) à gauche et à droite de la ligne centrale du véhicule (corde (2)). (Repères AC et AD)
(7) Lorsque la ligne centrale du SST (cible de réglage de caméra de télévision) est alignée sur le repère X, placer la corde (2) de manière à ce qu'elle chevauche la ligne centrale du SST (support en L) comme indiqué sur le schéma.
|
*a | SST (cible de réglage de caméra de télévision) |
|
*b | SST (support de type L) |
|
*c | Ligne centrale de SST (cible de réglage de caméra de télévision) |
|
* d | Ligne centrale du SST (support de type L) |
|
* e | Ficelle 2 |
|
* f | Ficelle 4 |
|
*g | Repère AC |
|
*h | Repère AD |
|
*i | Repère X |
|
Avant du véhicule |
(8) Aligner la ligne centrale du SST (cible de réglage de caméra de télévision) avec les repères AC et AD et la placer parallèlement à la corde (4), comme indiqué sur le schéma
(9) Effectuer la procédure de réglage de l'écran (procédure 14).
PROCEDURE 7: REGLAGE DES MARQUEURS (REGLAGE COTE GAUCHE)
(a) A la gauche du véhicule, tendre la corde (5) parallèlement à la ligne centrale du véhicule (corde (2)), et placer un marqueur.
(1) Marquer la position sur la corde (2) à l'avant du véhicule, 4500 mm (14,76 pi) à partir du point de référence. (Repère E)
|
*a | 900 mm (2,95 pi) |
|
*b | 4500 mm (14,76 pi) |
|
*c | Point de référence |
|
* d | Ficelle 1 |
|
* e | Ficelle 2 |
|
* f | Repère E |
|
*g | Repère J |
|
Avant du véhicule |
(2) Marquer la position sur la corde (2) à l'arrière du véhicule, 900 mm (2,95 pi) à partir du point de référence. (Repère J)
(3) Fixer les extrémités de 2 cordes (longue de 800 mm [2,62 pi]) en deux emplacements 400 mm (1,31 pi) du repère E comme indiqué sur le schéma.
|
*a | 400 mm (1,31 pi) |
|
*b | Ficelle 2 |
|
*c | Repère E |
|
Avant du véhicule |
(4) Déplacer les extrémités libres des 2 ficelles et marquer le point de rencontre des extrémités. (Repères F et G)
|
*a | Ficelle 800 mm (2,62 pi) |
*b | Ficelle 2 |
|
*c | Repère E | * d |
Repère F |
| * e |
Repère G | - |
- |
|
Avant du véhicule | - |
- |
(5) Fixer les extrémités de 2 cordes (800 mm [2,62 pi]) en deux emplacements 400 mm (1,31 pi) du repère H comme indiqué sur le schéma.
|
*a | 400 mm (1,31 pi) |
|
*b | Ficelle 1 |
|
*c | Ficelle 2 |
|
* d | Repère J |
|
Avant du véhicule |
(6) Déplacer les extrémités libres des 2 ficelles et marquer le point de rencontre des extrémités. (Repères K et L)
|
*a | Ficelle 800 mm (2,62 pi) |
*b | Ficelle 1 |
|
*c | Ficelle 2 | * d |
Repère J |
| * e |
Repère K | * f |
Repère L |
|
Avant du véhicule | - |
- |
(7) Fixer les cordes (3) et (4) de manière à ce qu'elles passent par les repères F et G et les repères K et L comme indiqué sur le schéma.
REMARQUE:
Lors de la fixation de la ficelle, s'assurer qu'il n'y ait pas de mou et que la ficelle ne tourne pas.
|
*a | 1200 mm (3,94 pi) |
|
*b | Ficelle 2 |
|
*c | Ficelle 3 |
|
* d | Ficelle 4 |
|
* e | Repère F |
|
* f | Repère G |
|
*g | Repère H |
|
*h | Marque K |
|
*i | Marque L |
|
*j | Repère M |
|
Avant du véhicule |
(8) Marquer les cordes (3) et (4), 1200 mm (3,94 pi) à gauche de la ligne centrale du véhicule (corde 2). (Repères H et M)
(9) Fixer la corde (5) de manière à ce qu'elle passe par les repères H et M comme indiqué sur le schéma.
REMARQUE:
Lors de la fixation de la ficelle, s'assurer qu'il n'y ait pas de mou et que la ficelle ne tourne pas.
|
*a | Ficelle 1 |
|
*b | Ficelle 2 |
|
*c | Ficelle 3 |
|
* d | Ficelle 4 |
|
* e | Ficelle 5 |
|
* f | Repère H |
|
*g | Repère M |
|
Avant du véhicule |
(10) Marquer les repères sur la corde (5) qui sont à 1400 mm (4,59 pi), 1600 mm (5,25 pi), 3200 mm (10,50 pi) et 3400 mm (11,15 pi) de la ligne de référence (corde 1) comme indiqué sur le schéma. (Repères O, P, Q et R)
|
*a | 1400 mm (4,59 ft.) |
|
*b | 1600 mm (5,25 ft.) |
|
*c | 3200 mm (10,50 pi) |
|
* d | 3400 mm (11,15 pi) |
|
* e | Ficelle 1 |
|
* f | Ficelle 5 |
|
*g | Repère H |
|
*h | Repère M |
|
*i | Repère O |
|
*j | Repère P |
|
*k | Repère Q |
|
*l | Repère R |
|
Avant du véhicule |
(11) Placer et fixer les marqueurs transversaux, centrés sur les repères H et I.
REMARQUE:
|
*a | 100 mm (0,33 pi) |
|
*b | 800 mm (2,62 pi) |
|
*c | 400 mm (1,31 pi) |
|
* d | Marqueur de vérification transversal |
|
* e | Vérifier les marqueurs |
|
* f | Ficelle 1 |
|
*g | Ficelle 5 |
|
*h | Repère H |
|
*i | Repère M |
|
*j | Repère O |
|
*k | Repère P |
|
*l | Repère Q |
|
*m | Repère R |
|
Avant du véhicule |
(12) Placer le marqueur de vérification entre les repères O et P et les repères Q et R.
(13) Avec stationnement avancé:
Effectuer le réglage du SST (réglage côté gauche) (procédure 8).
(14) Sans stationnement avancé:
Effectuer la procédure de réglage de l'écran (procédure 14).
PROCEDURE 8: PLACER LE SST (REGLAGE COTE GAUCHE)
(a) A gauche du véhicule, tendre la corde (5) parallèlement à la ligne centrale du véhicule (corde (2)), et placer le SST.
SST: 09870-52010
SST: 09870-52020
(1) Marquer la position sur la corde (2) à l'avant du véhicule, 4550 mm (14,92 pi) à partir du point de référence. (Repère E)
|
*a | 950 mm (3,12 pi) |
|
*b | 4550 mm (14,92 pi) |
|
*c | Point de référence |
|
* d | Ficelle 1 |
|
* e | Ficelle 2 |
|
* f | Repère E |
|
*g | Repère J |
|
Avant du véhicule |
(2) Marquer la position sur la corde (2) à l'arrière du véhicule, 950 mm (3,12 pi) à partir du point de référence. (Repère J)
(3) Fixer les extrémités de 2 cordes (longue de 800 mm [2,62 pi]) en deux emplacements 400 mm (1,31 pi) du repère E comme indiqué sur le schéma.
|
*a | 400 mm (1,31 pi) |
|
*b | Ficelle 2 |
|
*c | Repère E |
|
Avant du véhicule |
(4) Déplacer les extrémités libres des 2 ficelles et marquer le point de rencontre des extrémités. (Repères F et G)
|
*a | Ficelle 800 mm (2,62 pi) |
*b | Ficelle 2 |
|
*c | Repère E | * d |
Repère F |
| * e |
Repère G | - |
- |
|
Avant du véhicule | - |
- |
(5) Fixer les extrémités de 2 cordes (800 mm [2,62 pi]) en deux emplacements 400 mm (1,31 pi) du repère H comme indiqué sur le schéma.
|
*a | 400 mm (1,31 pi) |
|
*b | Ficelle 1 |
|
*c | Ficelle 2 |
|
* d | Repère J |
|
Avant du véhicule |
(6) Déplacer les extrémités libres des 2 ficelles et marquer le point de rencontre des extrémités. (Repères K et L)
|
*a | Ficelle 800 mm (2,62 pi) |
*b | Ficelle 1 |
|
*c | Ficelle 2 | * d |
Repère J |
| * e |
Repère K | * f |
Repère L |
|
Avant du véhicule | - |
- |
(7) Fixer les cordes (3) et (4) de manière à ce qu'elles passent par les repères F et G et les repères K et L comme indiqué sur le schéma.
REMARQUE:
Lors de la fixation de la ficelle, s'assurer qu'il n'y ait pas de mou et que la ficelle ne tourne pas.
|
*a | 1250 mm (4,1 pi) |
|
*b | 1450 mm (4,76 pi) |
|
*c | Ficelle 2 |
|
* d | Ficelle 3 |
|
* e | Ficelle 4 |
|
* f | Repère F |
|
*g | Repère G |
|
*h | Repère H |
|
*i | Repère K |
|
*j | Repère L |
|
*k | Repère M |
|
*l | Repère AA |
|
*m | Repère AC |
|
Avant du véhicule |
(8) Marquer les cordes (3) et (4), 1250 mm (4,1 pi) à gauche de la ligne centrale du véhicule (corde 2). (Repères H et M)
(9) Marquer les cordes (3) et (4), 1450 mm (4,76 pi) à gauche de la ligne centrale du véhicule (corde 2). (Repères AA et AC)
(10) Fixer la corde (5) de manière à ce qu'elle passe par les repères H et M comme indiqué sur le schéma.
REMARQUE:
Lors de la fixation de la ficelle, s'assurer qu'il n'y ait pas de mou et que la ficelle ne tourne pas.
|
*a | Ficelle 1 |
|
*b | Ficelle 2 |
|
*c | Ficelle 3 |
|
* d | Ficelle 4 |
|
* e | Ficelle 5 |
|
* f | Repère H |
|
*g | Repère M |
|
Avant du véhicule |
(11) Marquer la corde (5) à 3000 mm (9,84 pi) de la ligne de référence (corde (1)) comme indiqué sur le schéma. (Repère Y)
|
*a | 3000 mm (9,84 pi) |
|
*b | Ficelle 1 |
|
*c | Ficelle 5 |
|
* d | Repère H |
|
* e | Repère M |
|
* f | Repère Y |
|
Avant du véhicule |
(12) Aligner la ligne centrale du SST (cible de réglage de caméra de télévision) avec le repère AA et la placer parallèlement à la corde (3), comme indiqué sur le schéma.
|
*a | SST (cible de réglage de caméra de télévision) |
|
*b | Ficelle 3 |
|
*c | Ficelle 4 |
|
* d | Ficelle 5 |
|
* e | Repère H |
|
* f | Marque M |
|
*g | Repère Y |
|
*h | Repère AA |
|
*i | Repère AC |
|
Avant du véhicule |
(13) Aligner la ligne centrale du SST (cible de réglage de caméra de télévision) avec le repère AC et la placer parallèlement à la corde (4), comme indiqué sur le schéma.
(14) Aligner la ligne centrale du SST (cible de réglage de caméra de télévision) avec le repère Y et la placer parallèlement à la corde (5), comme indiqué sur le schéma.
REMARQUE:
Le sens vertical du SST (cible de réglage de caméra de télévision) varie selon l'utilisation ou non du réglage ou du réglage d'angle.
(15) Effectuer la procédure de réglage de l'écran (procédure 14).
PROCEDURE 9: REGLAGE DES MARQUEURS (REGLAGE COTE DROIT)
(a) A droite du véhicule, tendre la corde (6 en ) parallèle à la ligne centrale du véhicule (corde (2)), et placer un marqueur.
(1) Marquer la position sur la corde (2) à l'avant du véhicule, 4500 mm (14,76 pi) à partir du point de référence. (Repère E)
|
*a | 900 mm (2,95 pi) |
|
*b | 4500 mm (14,76 pi) |
|
*c | Point de référence |
|
* d | Ficelle 1 |
|
* e | Ficelle 2 |
|
* f | Repère E |
|
*g | Repère J |
|
Avant du véhicule |
(2) Marquer la position sur la corde (2) à l'arrière du véhicule, 900 mm (2,95 pi) à partir du point de référence. (Repère J)
(3) Fixer les extrémités de 2 cordes (longue de 800 mm [2,62 pi]) en deux emplacements 400 mm (1,31 pi) du repère E comme indiqué sur le schéma.
|
*a | 400 mm (1,31 pi) |
|
*b | Ficelle 2 |
|
*c | Repère E |
|
Avant du véhicule |
(4) Déplacer les extrémités libres des 2 ficelles et marquer le point de rencontre des extrémités. (Repères F et G)
|
*a | Ficelle 800 mm (2,62 pi) |
*b | Ficelle 2 |
|
*c | Repère E | * d |
Repère F |
| * e |
Repère G | - |
- |
|
Avant du véhicule | - |
- |
(5) Fixer les extrémités de 2 cordes (800 mm [2,62 pi]) en deux emplacements 400 mm (1,31 pi) du repère H comme indiqué sur le schéma.
|
*a | 400 mm (1,31 pi) |
|
*b | Ficelle 1 |
|
*c | Ficelle 2 |
|
* d | Repère J |
|
Avant du véhicule |
(6) Déplacer les extrémités libres des 2 ficelles et marquer le point de rencontre des extrémités. (Repères K et L)
|
*a | Ficelle 800 mm (2,62 pi) |
*b | Ficelle 1 |
|
*c | Ficelle 2 | * d |
Repère J |
| * e |
Repère K | * f |
Repère L |
|
Avant du véhicule | - |
- |
(7) Fixer les cordes (3) et (4) de manière à ce qu'elles passent par les repères F et G et les repères K et L comme indiqué sur le schéma.
REMARQUE:
Lors de la fixation de la ficelle, s'assurer qu'il n'y ait pas de mou et que la ficelle ne tourne pas.
|
*a | 1200 mm (3,94 pi) |
|
*b | Ficelle 2 |
|
*c | Ficelle 3 |
|
* d | Ficelle 4 |
|
* e | Repère F |
|
* f | Repère G |
|
*g | Repère I |
|
*h | Marque K |
|
*i | Marque L |
|
*j | Repère N |
|
Avant du véhicule |
(8) Marquer les cordes (3) et (4), 1200 mm (3,94 pi) à droite de la ligne centrale du véhicule (corde 2). (Repères I et N)
(9) Fixer la corde (6) de manière à ce qu'elle passe par les repères I et N comme indiqué sur le schéma.
REMARQUE:
Lors de la fixation de la ficelle, s'assurer qu'il n'y ait pas de mou et que la ficelle ne tourne pas.
|
*a | Ficelle 1 |
|
*b | Ficelle 2 |
|
*c | Ficelle 3 |
|
* d | Ficelle 4 |
|
* e | Corde 6 |
|
* f | Repère I |
|
*g | Repère N |
|
Avant du véhicule |
(10) Marquer les repères sur la corde (6) qui sont à 1400 mm (4,59 pi), 1600 mm (5,25 pi), 3200 mm (10,50 pi) et 3400 mm (11,15 pi) de la ligne de référence (corde 1) comme indiqué sur le schéma. (Repères S, T, U et V)
|
*a | 1400 mm (4,59 ft.) |
|
*b | 1600 mm (5,25 ft.) |
|
*c | 3200 mm (10,50 pi) |
|
* d | 3400 mm (11,15 pi) |
|
* e | Ficelle 1 |
|
* f | Ficelle 6 |
|
*g | Repère I |
|
*h | Repère N |
|
*i | Repère S |
|
*j | Repère T |
|
*k | Repère U |
|
*l | Repère V |
|
Avant du véhicule |
(11) Placer et fixer les marqueurs transversaux, centrés sur les repères I et N.
REMARQUE:
|
*a | 100 mm (0,33 pi) |
|
*b | 800 mm (2,62 pi) |
|
*c | 400 mm (1,31 pi) |
|
* d | Marqueur de vérification transversal |
|
* e | Vérifier les marqueurs |
|
* f | Ficelle 1 |
|
*g | Ficelle 6 |
|
*h | Repère I |
|
*i | Repère N |
|
*j | Repère S |
|
*k | Repère T |
|
*l | Repère U |
|
*m | Repère V |
|
Avant du véhicule |
(12) Placer les marqueurs de vérification entre les repères S et T et les repères U et V.
(13) Avec stationnement avancé:
Effectuer le réglage du SST (réglage côté droit) (procédure 10).
(14) Sans stationnement avancé:
Effectuer la procédure de réglage de l'écran (procédure 14).
PROCEDURE 10: PLACER LE SST (REGLAGE COTE DROIT)
(a) A gauche du véhicule, tendre la corde (6) parallèlement à la ligne centrale du véhicule (corde (2)) et placer le SST.
SST: 09870-52010
SST: 09870-52020
(1) Marquer la position sur la corde (2) à l'avant du véhicule, 4550 mm (14,92 pi) à partir du point de référence. (Repère E)
|
*a | 950 mm (3,12 pi) |
|
*b | 4550 mm (14,92 pi) |
|
*c | Point de référence |
|
* d | Ficelle 1 |
|
* e | Ficelle 2 |
|
* f | Repère E |
|
*g | Repère J |
|
Avant du véhicule |
(2) Marquer la position sur la corde (2) à l'arrière du véhicule, 950 mm (3,12 pi) à partir du point de référence. (Repère J)
(3) Fixer les extrémités de 2 cordes (longue de 800 mm [2,62 pi]) en deux emplacements 400 mm (1,31 pi) du repère E comme indiqué sur le schéma.
|
*a | 400 mm (1,31 pi) |
|
*b | Ficelle 2 |
|
*c | Repère E |
|
Avant du véhicule |
(4) Déplacer les extrémités libres des 2 ficelles et marquer le point de rencontre des extrémités. (Repères F et G)
|
*a | Ficelle 800 mm (2,62 pi) |
*b | Ficelle 2 |
|
*c | Repère E | * d |
Repère F |
| * e |
Repère G | - |
- |
|
Avant du véhicule | - |
- |
(5) Fixer les extrémités de 2 cordes (800 mm [2,62 pi]) en deux emplacements 400 mm (1,31 pi) du repère H comme indiqué sur le schéma.
|
*a | 400 mm (1,31 pi) |
|
*b | Ficelle 1 |
|
*c | Ficelle 2 |
|
* d | Repère J |
|
Avant du véhicule |
(6) Déplacer les extrémités libres des 2 ficelles et marquer le point de rencontre des extrémités. (Repères K et L)
|
*a | Ficelle 800 mm (2,62 pi) |
*b | Ficelle 1 |
|
*c | Ficelle 2 | * d |
Repère J |
| * e |
Repère K | * f |
Repère L |
|
Avant du véhicule | - |
- |
(7) Fixer les cordes (3) et (4) de manière à ce qu'elles passent par les repères F et G et les repères K et L comme indiqué sur le schéma.
REMARQUE:
Lors de la fixation de la ficelle, s'assurer qu'il n'y ait pas de mou et que la ficelle ne tourne pas.
|
*a | 1250 mm (4,1 pi) |
|
*b | 1450 mm (4,76 pi) |
|
*c | Ficelle 2 |
|
* d | Ficelle 3 |
|
* e | Ficelle 4 |
|
* f | Repère F |
|
*g | Repère G |
|
*h | Repère I |
|
*i | Repère K |
|
*j | Repère L |
|
*k | Repère N |
|
*l | Repère AB |
|
*m | Repère AD |
|
Avant du véhicule |
(8) Marquer les cordes (3) et (4), 1250 mm (4,1 pi) à droite de la ligne centrale du véhicule (corde 2). (Repères I et N)
(9) Marquer les cordes (3) et (4), 1450 mm (4,76 pi) à droite de la ligne centrale du véhicule (corde 2). (Repères AB et AD)
(10) Fixer la corde (6) de manière à ce qu'elle passe par les repères I et N comme indiqué sur le schéma.
REMARQUE:
Lors de la fixation de la ficelle, s'assurer qu'il n'y ait pas de mou et que la ficelle ne tourne pas.
|
*a | Ficelle 1 |
|
*b | Ficelle 2 |
|
*c | Ficelle 3 |
|
* d | Ficelle 4 |
|
* e | Corde 6 |
|
* f | Repère I |
|
*g | Repère N |
|
Avant du véhicule |
(11) Marquer la corde (6) à 3000 mm (9,84 pi) de la ligne de référence (corde (1)) comme indiqué sur le schéma. (Repère Z)
|
*a | 3000 mm (9,84 pi) |
|
*b | Ficelle 1 |
|
*c | Ficelle 6 |
|
* d | Repère I |
|
* e | Repère N |
|
* f | Repère Z |
|
Avant du véhicule |
(12) Aligner la ligne centrale du SST (cible de réglage de caméra de télévision) avec le repère AB et la placer parallèlement à la corde (3), comme indiqué sur le schéma.
|
*a | SST (cible de réglage de caméra de télévision) |
|
*b | Ficelle 3 |
|
*c | Ficelle 4 |
|
* d | Ficelle 6 |
|
* e | Repère I |
|
* f | Repère N |
|
*g | Repère Z |
|
*h | Repère AB |
|
*i | Repère AD |
|
Avant du véhicule |
(13) Aligner la ligne centrale du SST (cible de réglage de caméra de télévision) avec le repère AD et la placer parallèlement à la corde (4), comme indiqué sur le schéma.
(14) Aligner la ligne centrale du SST (cible de réglage de caméra de télévision) avec le repère Z et la placer parallèlement à la corde (6), comme indiqué sur le schéma.
REMARQUE:
Le sens vertical du SST (cible de réglage de caméra de télévision) varie selon l'utilisation du réglage d'angle ou du réglage latéral
(15) Effectuer la procédure de réglage de l'écran (procédure 14).
PROCEDURE 11: MISE EN PLACE DES MARQUEURS (REGLAGE DE TOUTES LES CAMERAS)
(a) A droite et à gauche du véhicule, tendre les cordes (5) et (6) parallèlement à la ligne centrale du véhicule (corde (2)) et placer les repères.
(1) Marquer la position sur la corde (2) à l'avant du véhicule, 4500 mm (14,76 pi) à partir du point de référence. (Repère E)
|
*a | 900 mm (2,95 pi) |
|
*b | 4500 mm (14,76 pi) |
|
*c | Point de référence |
|
* d | Ficelle 1 |
|
* e | Ficelle 2 |
|
* f | Repère E |
|
*g | Repère J |
|
Avant du véhicule |
(2) Marquer la position sur la corde (2) à l'arrière du véhicule, 900 mm (2,95 pi) à partir du point de référence. (Repère J)
(3) Fixer les extrémités de 2 cordes (longue de 800 mm [2,62 pi]) en deux emplacements 400 mm (1,31 pi) du repère E comme indiqué sur le schéma.
|
*a | 400 mm (1,31 pi) |
|
*b | Ficelle 2 |
|
*c | Repère E |
|
Avant du véhicule |
(4) Déplacer les extrémités libres des 2 ficelles et marquer le point de rencontre des extrémités. (Repères F et G)
|
*a | Ficelle 800 mm (2,62 pi) |
*b | Ficelle 2 |
|
*c | Repère E | * d |
Repère F |
| * e |
Repère G | - |
- |
|
Avant du véhicule | - |
- |
(5) Fixer les extrémités de 2 cordes (800 mm [2,62 pi]) en deux emplacements 400 mm (1,31 pi) du repère H comme indiqué sur le schéma.
|
*a | 400 mm (1,31 pi) |
|
*b | Ficelle 1 |
|
*c | Ficelle 2 |
|
* d | Repère J |
|
Avant du véhicule |
(6) Déplacer les extrémités libres des 2 ficelles et marquer le point de rencontre des extrémités. (Repères K et L)
|
*a | Ficelle 800 mm (2,62 pi) |
*b | Ficelle 1 |
|
*c | Ficelle 2 | * d |
Repère J |
| * e |
Repère K | * f |
Repère L |
|
Avant du véhicule | - |
- |
(7) Fixer les cordes (3) et (4) de manière à ce qu'elles passent par les repères F, G, K et L comme indiqué sur le schéma.
REMARQUE:
Lors de la fixation de la ficelle, s'assurer qu'il n'y ait pas de mou et que la ficelle ne tourne pas.
|
*a | 1200 mm (3,94 pi) |
|
*b | Ficelle 2 |
|
*c | Ficelle 3 |
|
* d | Ficelle 4 |
|
* e | Repère F |
|
* f | Repère G |
|
*g | Repère H |
|
*h | Repère I |
|
*i | Repère K |
|
*j | Repère L |
|
*k | Repère M |
|
*l | Repère N |
|
Avant du véhicule |
(8) Marquer la corde (3), 1200 mm (3,94 pi) à gauche et à droite de la ligne centrale du véhicule (corde 2). (Repères H et I).
(9) Marquer la corde (4), 1200 mm (3,94 pi) à gauche et à droite de la ligne centrale du véhicule (corde 2). (Repères M et N)
(10) Fixer les cordes (5) et (6) de manière à ce qu'elles passent par les repères H, M, I et N, comme indiqué sur le schéma.
REMARQUE:
Lors de la fixation de la ficelle, s'assurer qu'il n'y ait pas de mou et que la ficelle ne tourne pas.
|
*a | Ficelle 1 |
|
*b | Ficelle 2 |
|
*c | Ficelle 3 |
|
* d | Ficelle 4 |
|
* e | Ficelle 5 |
|
* f | Ficelle 6 |
|
*g | Repère H |
|
*h | Repère I |
|
*i | Repère M |
|
*j | Repère N |
|
Avant du véhicule |
(11) Marquer les repères sur la corde (5) qui sont à 1400 mm (4,59 pi), 1600 mm (5,25 pi), 3200 mm (10,50 pi) et 3400 mm (11,15 pi) de la ligne de référence (corde 1) comme indiqué sur le schéma. (Repères O, P, Q et R)
|
*a | 1400 mm (4,59 ft.) |
|
*b | 1600 mm (5,25 ft.) |
|
*c | 3200 mm (10,50 pi) |
|
* d | 3400 mm (11,15 pi) |
|
* e | Ficelle 1 |
|
* f | Ficelle 2 |
|
*g | Ficelle 3 |
|
*h | Ficelle 4 |
|
*i | Ficelle 5 |
|
*j | Ficelle 6 |
|
*k | Repère O |
|
*l | Repère P |
|
*m | Repère Q |
|
*n | Repère R |
|
*o | Repère S |
|
*p | Repère T |
|
*q | Repère U |
|
*r | Repère V |
|
Avant du véhicule |
(12) Marquer les repères sur la corde (6) qui sont à 1400 mm (4,59 pi), 1600 mm (5,25 pi), 3200 mm (10,50 pi) et 3400 mm (11,15 pi) de la ligne de référence (corde 1) comme indiqué sur le schéma. (Repères S, T, U et V)
(13) Placer et fixer les marqueurs transversaux, centrés sur les repères H, I, M et N.
REMARQUE:
|
*a | 100 mm (0,33 pi) |
*b | 800 mm (2,62 pi) |
|
*c | Marqueur de vérification transversale |
* d | Vérifier les marqueurs |
|
* e | Ficelle 1 |
* f | Repère F |
|
*g | Repère G |
*h | Repère H |
|
*i | Repère I |
*j | Repère K |
|
*k | Repère L |
*l | Repère M |
|
*m | Repère N |
*n | Repère O |
|
*o | Repère P |
*p | Repère Q |
|
*q | Repère R |
*r | Repère S |
|
*s | Repère T |
*t | Repère U |
|
*u | Repère V |
- | - |
|
Avant du véhicule | - |
- |
(14) Placer les marqueurs de vérification entre les repères F et G, les repères K et L, les repères O et P, les repères Q et R, les repères S et T ainsi que les repères U et V.
(15) Avec stationnement avancé:
Effectuer le SST réglé (réglage de toutes les caméras) (procédure 13).
(16) Sans stationnement avancé:
Effectuer la procédure de réglage de l'écran (procédure 14).
PROCEDURE 12: REGLAGE DES MARQUEURS (REGLAGE DU SST)
(a) A l'aide du SST (jeu d'outils de marqueur), placer les repères.
SST: 09870-30010
Marqueurs et entretoises|
Nom de la pièce | Couleur |
Longueur | Qté |
|---|---|---|---|
|
Marqueur A | Blanc |
800 mm (31,5 po) | 6 |
|
Marqueur B | Blanc |
950 mm (37,4 po) | 2 |
|
Marqueur E | Blanc |
350 mm (13,8 po) | 6 |
|
Marqueur F | Blanc |
1000 mm (39,4 po) | 2 |
|
Marqueur G | Blanc |
293 mm (11,5 po) | 4 |
|
Marqueur H | Blanc |
200 mm (7,87 po) | 4 |
|
Entretoise J | Noir |
1000 mm (39,4 po) | 6 |
|
Entretoise P | Noir |
107 mm (4,21 po) | 4 |
(1) Placer le marqueur A, le marqueur B, le marqueur E, le marqueur F et le marqueur G de manière à faire le tour du véhicule, comme indiqué sur le schéma.
|
*a | Marqueur A |
|
*b | Marqueur F |
|
*c | Marqueur E |
|
* d | Marqueur B |
|
* e | Marqueur G |
|
Avant du véhicule |
|
Nom de la pièce | Couleur |
Longueur | Qté |
|---|---|---|---|
|
Marqueur A | Blanc |
800 mm (31,5 po) | 6 |
|
Marqueur B | Blanc |
950 mm (37,4 po) | 2 |
|
Marqueur E | Blanc |
350 mm (13,8 po) | 6 |
|
Marqueur F | Blanc |
1000 mm (39,4 po) | 2 |
|
Marqueur G | Blanc |
293 mm (11,5 po) | 4 |
(2) Placer l'entretoise J comme indiqué sur le schéma.
|
Nom de la pièce | Couleur |
Longueur | Qté |
|---|---|---|---|
|
Entretoise J | Noir |
1000 mm (39,4 po) | 4 |
|
*a | Entretoise J |
|
Avant du véhicule |
(3) Combiner avec des entretoises et placer aux positions A et B pour monter le jeu d'outils de marqueur.
A|
Nom de la pièce | Couleur |
Longueur | Qté |
|---|---|---|---|
|
Entretoise J | Noir |
1000 mm (39,4 po) | 1 |
CONSEIL:
Créer 2 ensembles et les combiner.
B|
Nom de la pièce | Couleur |
Longueur | Qté |
|---|---|---|---|
|
Entretoise P | Noir |
107 mm (4,21 po) | 1 |
CONSEIL:
Créer 4 ensembles et les combiner.
|
*a | A |
| *b |
B |
|
Avant du véhicule |
(4) Régler le marqueur H.
|
*a | 100 mm (3,94 po) |
*b | Marqueur B |
|
*c | Marqueur H |
* d | Distance entre l'extrémité avant du marqueur B et l'extrémité arrière du marqueur H |
|
Avant du véhicule | - |
- |
|
Positions de réglage du repère H |
Distance entre l'extrémité avant du marqueur B et l'extrémité arrière du marqueur H |
|---|---|
|
A | 2100 mm (6,89 pi) |
|
B | 300 mm (0.98 ft.) |
(5) Aligner le numéro de position sur le marqueur F avec la ligne de référence, comme indiqué sur le schéma.
REMARQUE:
Lors de l'alignement du marqueur F sur la ligne de référence, s'assurer que la corde utilisée pour la ligne de référence n'est ni tordue ni pliée.
|
*a | Ligne de référence |
*b | Marqueur F |
|
Avant du véhicule | - |
- |
|
Positions du marqueur F |
|---|
|
1 |
(6) Aligner la ligne de repère du marqueur A placé à l'avant et à l'arrière sur la ligne centrale du véhicule, comme indiqué sur le schéma.
REMARQUE:
Lors de l'alignement du marqueur A sur la ligne centrale du véhicule, s'assurer que la corde utilisée pour la ligne centrale du véhicule n'est ni tordue ni pliée.
|
*a | Marqueur A | *b |
Ligne de repère |
| *c |
Ligne centrale du véhicule | - |
- |
|
Avant du véhicule | - |
- |
(7) S'assurer que le jeu d'outils de marqueur complet n'est pas déformé une fois le réglage terminé. S'il y a une distorsion, effectuer les corrections de manière à ce qu'elle soit droite.
|
Avant du véhicule | - |
- |
(8) Avec stationnement avancé:
Effectuer le réglage du SST.
CONSEIL:
Selon la version du logiciel, la procédure diffère. Effectuer les réglages pour chaque zone où le travail doit être effectué.
|
Version du logiciel | Procédure requise |
|---|---|
|
Version logicielle A12 et suivantes |
|
| Version logicielle A10 |
|
|
Point de réglage | Passer au point |
|---|---|
|
Réglage de la caméra avant seulement |
Régler le SST (réglage avant) (procédure 4) |
|
Réglage de la caméra arrière seulement |
Régler le SST (réglage arrière) (procédure 6) |
|
Réglage de la caméra gauche seulement |
Régler le SST (réglage côté gauche) (procédure 8) |
|
Réglage de la caméra droite seulement |
Régler le SST (réglage côté droit) (procédure 10) |
|
Réglage de toutes les caméras |
Régler le SST (réglage de toutes les caméras) (procédure 13) |
(9) Sans stationnement avancé:
Effectuer la procédure de réglage de l'écran (procédure 14).
PROCEDURE 13: PLACER LE SST (REGLAGE DE TOUTES LES CAMERAS)
(a) A droite et à gauche du véhicule, tendre les cordes (5) et (6) parallèlement à la ligne centrale du véhicule (corde (2)), et placer le SST.
SST: 09870-52010
SST: 09870-52020
(1) Marquer la position sur la corde (2) à l'avant du véhicule, 4550 mm (14,92 pi) à partir du point de référence. (Repère E)
|
*a | 950 mm (3,12 pi) |
|
*b | 4550 mm (14,92 pi) |
|
*c | 2150 mm (7,05 pi) |
|
* d | 5750 mm (18,86 pi) |
|
* e | Point de référence |
|
* f | Ficelle 1 |
|
*g | Ficelle 2 |
|
*h | Repère E |
|
*i | Repère J |
|
*j | Repère W |
|
*k | Repère X |
|
Avant du véhicule |
(2) Marquer la position sur la corde (2) à l'avant du véhicule, 5750 mm (18,86 pi) à partir du point de référence. (Repère W)
(3) Marquer la position sur la corde (2) à l'arrière du véhicule, 950 mm (3,12 pi) à partir du point de référence. (Repère J)
(4) Marquer la position sur la corde (2) à l'arrière du véhicule, 2150 mm (7,05 pi) à partir du point de référence. (Repère X)
(5) Fixer les extrémités de 2 cordes (longue de 800 mm [2,62 pi]) en deux emplacements 400 mm (1,31 pi) du repère E comme indiqué sur le schéma.
|
*a | 400 mm (1,31 pi) |
|
*b | Ficelle 2 |
|
*c | Repère E |
|
Avant du véhicule |
(6) Déplacer les extrémités libres des 2 ficelles et marquer le point de rencontre des extrémités. (Repères F et G)
|
*a | Ficelle 800 mm (2,62 pi) |
*b | Ficelle 2 |
|
*c | Repère E | * d |
Repère F |
| * e |
Repère G | - |
- |
|
Avant du véhicule | - |
- |
(7) Fixer les extrémités de 2 cordes (800 mm [2,62 pi]) en deux emplacements 400 mm (1,31 pi) du repère H comme indiqué sur le schéma.
|
*a | 400 mm (1,31 pi) |
|
*b | Ficelle 1 |
|
*c | Ficelle 2 |
|
* d | Repère J |
|
Avant du véhicule |
(8) Déplacer les extrémités libres des 2 ficelles et marquer le point de rencontre des extrémités. (Repères K et L)
|
*a | Ficelle 800 mm (2,62 pi) |
*b | Ficelle 1 |
|
*c | Ficelle 2 | * d |
Repère J |
| * e |
Repère K | * f |
Repère L |
|
Avant du véhicule | - |
- |
(9) Fixer les cordes (3) et (4) de manière à ce qu'elles passent par les repères F, G, K et L comme indiqué sur le schéma.
REMARQUE:
Lors de la fixation de la ficelle, s'assurer qu'il n'y ait pas de mou et que la ficelle ne tourne pas.
|
*a | 1250 mm (4,1 pi) |
|
*b | 1450 mm (4,76 pi) |
|
*c | Ficelle 2 |
|
* d | Ficelle 3 |
|
* e | Ficelle 4 |
|
* f | Repère F |
|
*g | Repère G |
|
*h | Repère H |
|
*i | Repère I |
|
*j | Repère K |
|
*k | Repère L |
|
*l | Repère M |
|
*m | Repère N |
|
*n | Repère AA |
|
*o | Repère AB |
|
*p | Repère AC |
|
*q | Repère AD |
|
Avant du véhicule |
(10) Marquer la corde (3), 1250 mm (4,1 pi) à gauche et à droite de la ligne centrale du véhicule (corde 2). (Repères H et I).
(11) Marquer la corde (3), 1450 mm (4,76 pi) à gauche et à droite de la ligne centrale du véhicule (corde 2). (Marqueurs AA et AB)
(12) Marquer la corde (4), 1250 mm (4,1 pi) à gauche et à droite de la ligne centrale du véhicule (corde 2). (Repères M et N)
(13) Marquer la corde (4), 1450 mm (4,76 pi) à gauche et à droite de la ligne centrale du véhicule (corde 2). (Repères AC et AD)
(14) Fixer les cordes (5) et (6) de manière à ce qu'elles passent par les repères H, M, I et N, comme indiqué sur le schéma.
REMARQUE:
Lors de la fixation de la ficelle, s'assurer qu'il n'y ait pas de mou et que la ficelle ne tourne pas.
|
*a | Ficelle 1 |
|
*b | Ficelle 2 |
|
*c | Ficelle 3 |
|
* d | Ficelle 4 |
|
* e | Ficelle 5 |
|
* f | Ficelle 6 |
|
*g | Repère H |
|
*h | Repère I |
|
*i | Repère M |
|
*j | Repère N |
|
Avant du véhicule |
(15) Marquer la corde (5) à 3000 mm (9,84 pi) de la ligne de référence (corde (1)) comme indiqué sur le schéma. (Repère Y)
|
*a | 3000 mm (9,84 pi) |
|
*b | Ficelle 1 |
|
*c | Ficelle 5 |
|
* d | Ficelle 6 |
|
* e | Repère Y |
|
* f | Repère Z |
|
Avant du véhicule |
(16) Marquer la corde (6) à 3000 mm (9,84 pi) de la ligne de référence (corde (1)) comme indiqué sur le schéma. (Repère Z)
(17) Aligner la ligne centrale du SST (cible de réglage de caméra de télévision) avec les repères AA et AB et la placer parallèlement à la corde (3), comme indiqué sur le schéma.
REMARQUE:
Le sens vertical du SST (cible de réglage de caméra de télévision) varie selon que le réglage latéral ou le réglage avant, arrière et d'angle est utilisé.
|
*a | SST (cible de réglage de caméra de télévision) |
*b | SST (support de type L) |
|
*c | Ligne centrale de SST (cible de réglage de caméra de télévision) |
* d | Ligne centrale du SST (support de type L) |
|
* e | Ficelle 2 |
* f | Ficelle 3 |
|
*g | Ficelle 4 |
*h | Ficelle 5 |
|
*i | Ficelle 6 |
*j | Repère W |
|
*k | Repère X |
*l | Repère Y |
|
*m | Repère Z |
*n | Repère AA |
|
*o | Repère AB |
*p | Repère AC |
|
*q | Repère AD |
- | - |
|
Avant du véhicule | - |
- |
(18) Aligner la ligne centrale du SST (cible de réglage de caméra de télévision) avec les repères AC et AD et la placer parallèlement à la corde (4), comme indiqué sur le schéma.
(19) Lorsque la ligne centrale du SST (cible de réglage de caméra de télévision) est alignée sur le repère W et le repère X, placer la corde (2) de manière à ce qu'elle recouvre la ligne centrale du SST (support en L), comme indiqué sur le schéma.
(20) Aligner la ligne centrale du SST (cible de réglage de caméra de télévision) avec le repère Y et la placer parallèlement à la corde (5), comme indiqué sur le schéma.
(21) Aligner la ligne centrale du SST (cible de réglage de caméra de télévision) avec le repère Z et la placer parallèlement à la corde (6), comme indiqué sur le schéma.
(22) Effectuer la procédure de réglage de l'écran (procédure 14).
PROCEDURE 14: REGLAGE DE VUE DE LA CAMERA (CALIBRAGE)
(a) Passer en mode de diagnostic.
Cliquer ici
ATTENTION:
La vérification doit être effectuée avec le contacteur d'allumage en position ON. Par conséquent, engager le frein de stationnement, enfoncer la pédale de frein et engager le rapport P pour empêcher que le véhicule ne bouge de façon inattendue.
(b) Sélectionner "Function Check/Setting" sur l'écran "Service Menu".
(c) Sélectionner "Camera Setting" sur l'écran "Function Check/Setting I".
REMARQUE:
Si l'écran de sélection "Camera Setting" ne s'affiche pas, mettre le contacteur d'allumage en position OFF et passer à l'écran de diagnostic après avoir mis à nouveau le contacteur d'allumage en position ON.
(d) Sélectionner "View Adjustment" sur l'écran "Mode Setting (*)" pour afficher l'écran de réglage.
CONSEIL:
Pour sélectionner élément grisé, sélectionner et maintenir l'élément en question sélectionné pendant 2 secondes minimum.
(e) Après avoir vérifié l'écran, enfoncer la touche "Next" sur l'écran "Signal Check (*)".
CONSEIL:
(f) Avec stationnement avancé:
Effectuer le réglage de la vue.
Description des éléments d'affichage de l'écran de réglage
|
*a | Cadre rouge (pour l'évaluation de cadre rouge) |
*b | Marqueurs transversaux (pour l'évaluation de la connexion) |
|
*c | Détection du bouton de marqueur |
* d | Boutons de sélection de caméra |
CONSEIL:
Le contenu de la procédure de réglage de l'écran sera différent selon la version du logiciel.
Version du logiciel A10:
|
*a |
Détection du bouton de marqueur |
*b |
Bouton de sélection de caméra |
|
*a |
Détection terminée (Le cadre devient bleu lorsque la détection est terminée) |
*b |
Détection incomplète (Le cadre devient rouge lorsque la détection est incomplète) |
REMARQUE:
S'il n'est pas possible de déterminer la détection des marqueurs, effectuer à nouveau la procédure à partir du SST réglé (réglage avant).
|
*a |
Bouton OK |
- |
- |
REMARQUE:
L'état d'avancement de l'opération peut être rétabli en appuyant sur le bouton Back, puis en accédant à nouveau à l'écran de réglage.
CONSEIL:
Quand toutes les caméras sont modifiées, il est possible d'utilier le bouton All Camera Detect.
Version logicielle A12 et suivantes:
|
*a |
Détection du bouton de marqueur |
*b |
Boutons de sélection de caméra |
|
*a |
Détection terminée (Le cadre devient bleu lorsque la détection est terminée) |
*b |
Détection incomplète (Le cadre devient rouge lorsque la détection est incomplète) |
REMARQUE:
S'il n'est pas possible de déterminer la détection des marqueurs, effectuer à nouveau la procédure à partir du SST réglé.
|
*a |
Bouton OK |
- |
- |
REMARQUE:
L'état d'avancement de l'opération peut être rétabli en appuyant sur le bouton Back, puis en accédant à nouveau à l'écran de réglage.
CONSEIL:
Quand toutes les caméras sont modifiées, il est possible d'utilier le bouton All Camera Detect.
(1) Vérifier que les marqueurs transversaux affichés sur l'écran de réglage apparaissent connectés.
REMARQUE:
Avant de procéder à la vérification des marqueurs sur l'écran de réglage, s'assurer que les barres cible transversales ont été placées correctement.
(2) Vérifier si les barres cible ne dépassent pas en dehors des cadres rouges affichés sur l'écran de réglage.
REMARQUE:
Avant de vérifier l'écran de réglage, s'assurer que les marqueurs de vérification ont été correctement placés.
(g) Sans stationnement avancé:
Effectuer le réglage de la vue.
|
*a | Ligne rouge | *b |
Marqueur de vérification transversale |
|
*c | Bouton de réglage |
* d | Bouton de sélection de caméra |
|
* e | Bouton de commande de hauteur |
- | - |
REMARQUE:
En cas de remplacement de la caméra, sélectionner la caméra réparée et appuyer sur "New Camera".
(1) Vérifier que les marqueurs transversaux affichés sur l'écran de réglage apparaissent connectés.
REMARQUE:
CONSEIL:
Si un réglage est nécessaire, sélectionner le bouton "All View Reset" et réinitialiser toutes les valeurs de réglage.
(2) Confirmer que le marqueur transversal est sur l'écran de réglage.
REMARQUE:
CONSEIL:
Si un nouveau réglage est effectué, sélectionner le bouton "All View Reset" pour initialiser les états de réglage.
(h) Lorsque tous les réglages sont terminés, appuyer sur "OK".
(i) Si l'écriture des données se termine normalement, le message "The view data writing was completed." s'affiche.
(j) Appuyer sur "OK".
(k) Fin du mode de diagnostic.
Cliquer ici
PROCEDURE 15: VERIFIER LE TEMOIN D'AIDE AU STATIONNEMENT
Cliquer ici
ATTENTION:
La vérification doit être effectuée avec le contacteur d'allumage en position ON. Par conséquent, engager le frein de stationnement, enfoncer la pédale de frein et engager le rapport P pour empêcher que le véhicule ne bouge de façon inattendue.
PROCEDURE 16: IMPORTER/EXPORTER LA VALEUR CONSTANTE
(a) Enregistrer les données d'ECU
CONSEIL:
A l'aide d'ECU d'aide au stationnement posé sur le véhicule, émettre les éléments nécessaires au réglage de la caméra.
(1) A l'aide du GTS, sélectionner "Chassis" → "Circumference Monitoring Camera Control Module" → "Utility" pour effectuer l'utilitaire.
Chassis > Circumference Monitoring Camera Control Module > Utility|
Affichage du tester |
|---|
|
ECU Data Save |
(2) En fonction de l'écran, effectuer l'enregistrement des données d'ECU.
(3) Remplacer l'ECU d'aide au stationnement
Cliquer ici
(b) Procédure après remplacement de l'ECU
(1) Mettre le contacteur d'allumage en position ON, amener le levier de changement de vitesse en position R, puis engager le rapport P.
(2) Appuyer sur le contacteur de moniteur de vision panoramique.
(3) Passer en mode de diagnostic.
Cliquer ici
(4) Sélectionner "Function Check/Setting" sur l'écran "Service Menu".
(5) Sélectionner "Camera Setting" sur l'écran "Function Check/Setting I".
REMARQUE:
Si l'écran de sélection "Camera Setting" ne s'affiche pas, mettre le contacteur d'allumage en position OFF et passer à l'écran de diagnostic après avoir mis à nouveau le contacteur d'allumage en position ON.
(6) Sélectionner "View Adjustment" sur l'écran "Mode Setting (*)" pour afficher l'écran de réglage.
CONSEIL:
Pour sélectionner élément grisé, sélectionner et maintenir l'élément en question sélectionné pendant 2 secondes minimum.
(7) Après avoir vérifié l'écran, enfoncer la touche "Next" sur l'écran "Signal Check (*)".
REMARQUE:
Cliquer ici
(8) Avec stationnement avancé:
Afficher l'écran de réglage. Appuyer ensuite sur la touche "Back" pour retourner à l'écran Signal Check(*).
|
*a | Bouton BACK |
- | - |
(9) Sans stationnement avancé:
Afficher l'écran de réglage. Appuyer ensuite sur la touche "Back" pour retourner à l'écran Signal Check(*).
|
*a | Bouton BACK |
- | - |
(10) Sélectionner "Back" sur l'écran Signal Check(*) pour afficher l'écran Mode Setting(*).
(11) Annuler le mode de diagnostic et afficher l'écran multimédia.
Cliquer ici
(c) Ecrire les données d'ECU
CONSEIL:
Entrer les éléments nécessaires au réglage de la caméra dans l'ECU d'aide au stationnement de remplacement.
(1) A l'aide du GTS, sélectionner "Chassis" → "Circumference Monitoring Camera Control Module" → "Utility" pour effectuer l'utilitaire.
Chassis > Circumference Monitoring Camera Control Module > Utility|
Affichage du tester |
|---|
|
ECU Data Write |
(2) En fonction de l'écran, effectuer l'écriture des données d'ECU.
(d) Passer en mode de diagnostic.
CONSEIL:
Cliquer ici
ATTENTION:
La vérification doit être effectuée avec le contacteur d'allumage en position ON. Par conséquent, engager le frein de stationnement, enfoncer la pédale de frein et engager le rapport P pour empêcher que le véhicule ne bouge de façon inattendue.
(e) Sélectionner "Function Check/Setting" sur l'écran "Service Menu".
(f) Sélectionner "Camera Setting" sur l'écran "Function Check/Setting I".
REMARQUE:
Si l'écran de sélection "Camera Setting" ne s'affiche pas, mettre le contacteur d'allumage en position OFF et passer à l'écran de diagnostic après avoir mis à nouveau le contacteur d'allumage en position ON.
(g) Sélectionner "View Adjustment" sur l'écran "Mode Setting (*)" pour afficher l'écran de réglage.
CONSEIL:
Pour sélectionner élément grisé, sélectionner et maintenir l'élément en question sélectionné pendant 2 secondes minimum.
(h) Après avoir vérifié l'écran, enfoncer la touche "Next" sur l'écran "Signal Check (*)".
REMARQUE:
Cliquer ici
(i) Si l'écriture des données se termine normalement, le message "The view data writing was completed." s'affiche.
(j) Appuyer sur "OK".
(k) Fin du mode de diagnostic.
Cliquer ici
Personnalisation Des Parametres
UsageDéfaillance de la comparaison des signaux des capteurs de température du convertisseur PFC/DC/DC pour la charge
DESCRIPTION
L'ECU de commande de charge intégrée dans l'ensemble de chargeur de véhicule électrique contrôle son fonctionnement interne. Si elle détecte un dysfonctionnement, elle enregistre un DTC. Si ce DTC est émis, remplacer l'ensemble de chargeur ...
Circuit du haut-parleur de notification de proximité de véhicule ouvert
DESCRIPTION
Le circuit de l'ensemble de haut-parleur d'approche de véhicule avant se compose du dispositif de commande de haut-parleur d'approche de véhicule avant et de l'ensemble de haut-parleur d'approche de véhicule avant (ensemble de haut-parleur d'approche de véhic ...
Tension faible du système de tension d'alimentation électrique de secours du module de commande de servofrein électronique "A"
DESCRIPTION
L'ensemble d'alimentation électrique de commande de freinage est utilisé comme alimentation auxiliaire pour la commande de freinage lorsque la tension de la batterie auxiliaire est faible.
N° de DTC
...