english french deutsch

Toyota bZ4X - Manuel de réparation (2021-2024): Pose

POSE

MESURE DE PRECAUTION / REMARQUE / CONSEIL

PIECES CONSTITUTIVES (REPOSE)

Procédure

N° de référence

1

BANDE DE CAPTEUR DE PLUIE

89944

-

-

2

CAPTEUR DE PLUIE

89941

-

-

3

CACHE DE CAPTEUR DE PLUIE

89943

-

-

-

PROCÉDURE

1. POSER LE RUBAN ADHESIF DU CAPTEUR DE PLUIE

CONSEIL:

Le ruban adhésif du capteur de pluie est réutilisable. Remplacer le ruban adhésif uniquement s'il est endommagé ou encrassé par des corps étrangers.

Bande de capteur de pluie

-

-

(1) Installer le ruban adhésif du capteur de pluie en suivant la procédure ci-dessous.

1. Nettoyer la partie sensible du capteur de pluie avec un morceau de tissu.

2. Enlever la plus petite feuille protectrice, puis fixer le ruban adhésif de capteur de pluie sur la partie sensible du capteur de pluie, comme indiqué sur le schéma.

CONSEIL:

Extraire les bulles d'air présentes sous le ruban adhésif avec les doigts.

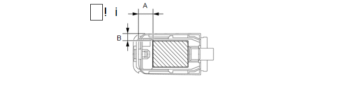
Jeu standard

Zone

Mesure

A

21,8 mm (0,858 po.)

B

7,25 mm (0,285 po.)

2. REPOSER LE CAPTEUR DE PLUIE

*a

Butée

-

-

Appuyer

Déposer dans ce sens

(1) Reposer le capteur de pluie en suivant la procédure ci-dessous.

1. Nettoyer la vitre de pare-brise à l'aide d'un morceau de tissu.

REMARQUE:

2. Enlever la feuille protectrice.

CONSEIL:

3. Brancher le connecteur.

4. Fixer progressivement le capteur de pluie à la surface de la vitre de pare-brise, comme indiqué sur le schéma pour éviter la formation de bulles d'air.

CONSEIL:

Ne pas toucher la surface du ruban adhésif de capteur de pluie ou la surface de la vitre de pare-brise.

5. Enfoncer la butée pour reposer le capteur de pluie, comme indiqué sur le schéma.

3. REPOSER LE CACHE DE CAPTEUR DE PLUIE

Depose
DEPOSE MESURE DE PRECAUTION / REMARQUE / CONSEIL PIECES CONSTITUTIVES (DEPOSE) Procédure N° de référence 1 CACHE DE CAPTEUR DE PLUIE 89943 - - ...

Contacteur D'essuie-glace
...

D'autres matériaux:

Court-circuit à la masse dans le circuit de commande du contacteur positif de système de charge de batterie hybride/EV
DESCRIPTION Les CHR (relais de charge) sont les relais qui branchent ou débranchent le système à haute tension en fonction des commandes provenant de l'ensemble d'ECU de la batterie. Il existe 3 CHR et 1 résistance principale du système. CHRB, CHRP, CHRG et la r& ...

Depose
DEPOSE MESURE DE PRECAUTION / REMARQUE / CONSEIL Les procédures nécessaires (réglage, calibrage, initialisation, ou enregistrement) qui doivent être effectuées après la dépose, la repose, ou le remplacement des pièces durant la dépose/repose de l'ensemble d'airbag de tableau de bord n° 1 ...

Actionneur de servomoteur de commande de volet de mélange d'air avant droit bloqué en position Off
DESCRIPTION Le sous-ensemble de servomoteur de volet de radiateur de climatisation n° 1 émet des signaux d'impulsions pour informer l'ensemble d'amplificateur de climatisation de la position du volet. L'ensemble d'amplificateur de climatisation active le moteur (normal ou marche arri&eg ...

Catégories

Toyota bZ4X - Manuel du proprietaire (2021-2024)

Toyota bZ4X

Manuel du proprietaire (2021-2024)

Lire le manuel

Toyota bZ4X - Manuel de réparation (2021-2024)

Toyota bZ4X

Manuel de réparation (2021-2024)

Lire le manuel